| নং | শিরোনাম | সেবার ধাপ | কার্যকলাপ |
|---|---|---|---|
| | |||
| ১ | ক্ষুদ্র ঋণ সেবা | দেখুন | |
| ২ | অঙ্গীভূত আনসার মোতায়েনের মাধ্যমে নিরাপত্তা সেবা প্রদান | দেখুন | |
| ৩ | জাতীয় জরুরী প্রয়োজনে নির্বাহী আদেশে স্বল্প মেয়াদে আনসার অঙ্গীভূতকরণ | দেখুন | |
| ৪ | সরকারী/বেসরকারী সংস্থায় আনসার অঙ্গীভূতকরণ | দেখুন | |
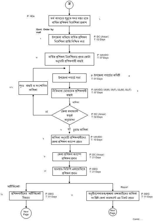
| ৫ | পেশা ভিত্তিক প্রশিক্ষণ | দেখুন | |
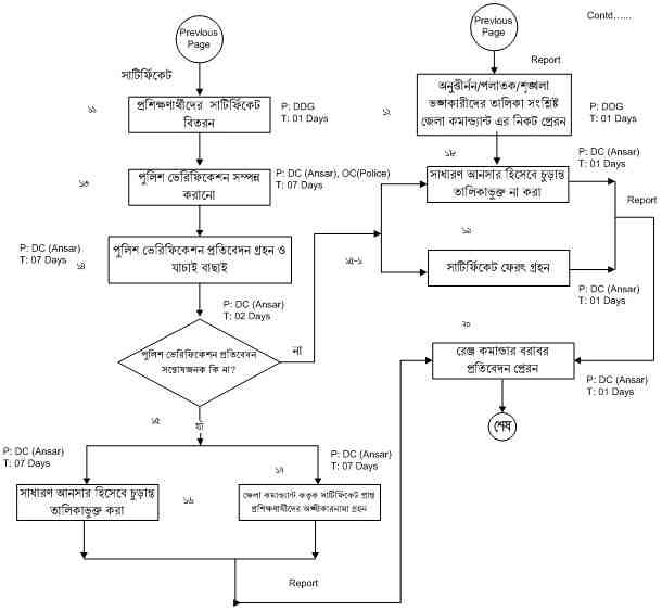
| ৬ | প্রশিক্ষণার্থীদের সার্টিফিকেট বিতরণ | দেখুন | |
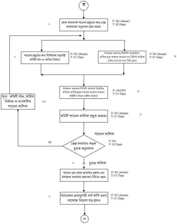
| ৭ | সাধারণ আনসার মৌলিক প্রশিক্ষণ (ভিডিপি মহিলা ও পুরুষ) | দেখুন | |
| ৮ | গ্রাম ভিত্তিক মৌলিক প্রশিক্ষণ(মহিলা ও পুরুষ) | দেখুন |